1.不合格原因
对于检验设备的抗扰度来说,电快速脉冲试验具有典型意义,由于电快速脉冲试验波形的上升沿很陡,因此包含了很丰富的高频谐波分量,能够检验电路在较宽的频率范围内的抗扰度。另外,由于试验脉冲是持续一段时间的脉冲串,因此它对电路的干扰有一个累积效应,大多数电路为了抗瞬态干扰,在输入端安装了积分电路,这种电路对单个脉冲具有很好的抑制作用,但是对于一串脉冲则不能有效地抑制。
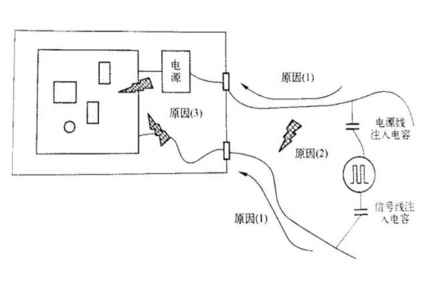
电快速脉冲对设备影响的原因由图所示的三种。

(1)通过电源线直接传导进设备的电源,导致电路的电源线上有过大的噪声电压。从图所示的干扰注入方式可知,当单独对火线或零线注入干扰是,在火线和零线之间存在着差模干扰,这种差模电压会出现在电源的直流输出端;当同时对火线和零线注入干扰时,仅存在着共模电压,由于大部分电源的输入都是平衡的(无论变压器输入,还是整流桥输入),因此实际共模干扰转变成差模电压的成分很少,对电源的输出影响并不大。
(2)干扰能量在电源线上传导的过程中向空间辐射,这些能量感应到邻近的信号电缆上,对信号电缆连接的电路形成干扰(如果发生这种情况,往往会直接向信号电缆注入试验脉冲时,导致试验失败)。
(3)干扰脉冲信号在电缆(包括信号电缆和电源电缆)上传播时产生的二次辐射能量感应进电路,对电路形成干扰。
2. 脉冲群EFT整改措施
1)针对电源线的措施
(1)金属机箱。解决电源线干扰问题的主要方法是在电源线入口处安装电源线滤波器,阻止干扰进入设备。从图中所示的干扰注入方法可知,注入到电源线上的电压是共模电压,滤波器必须能对这种共模电压起到抑制作用才能使受试设备顺利通过试验。目前,市面上的很多成品电源滤波器主要是针对电快速脉冲试验设计的,设计人员可以根据产品特点直接选用。下面是用滤波器抑制电源线上的电快速脉冲方法。

(2)设备机箱是非金属的。如果设备采用的是非金属机箱,就必须在机箱底部加一块金属板,供滤波器中的共模滤波电容接地。如图所示,这时的共模干扰电流通路通过金属板与地线层之间的分布电容形成通路。如果设备的尺寸较小,意味着金属板尺寸也较小,这时金属板与地线层之间的电容量较小,不能起到较好的旁路作用。因此,电感的特性对于设备能够顺利通过试验至关重要,需要采用各种措施提高电感高频特性,必要时可用多个电感串联。
2)针对信号线的措施
(1)信号电缆屏蔽。从试验方法可知,干扰脉冲耦合进信号电缆的方式为电容性耦合。消除电容性耦合的方法是将电缆屏蔽起来,并且接地,因此,用电缆屏蔽的反法解决电快速脉冲干扰的条件是电缆屏蔽层能够与试验中的参考地线层可靠连接,如果设备的外壳是金属并且接地的设备,这个条件容易满足;当设备的外壳是金属的,但是不接地时,屏蔽电缆只能对电快速脉冲中的高频成分起到抑制作用,这是通过金属机壳与地之间的分布电容来接地的;如果机箱是非金属机箱,则电缆屏蔽的方法就没有什么效果。

(2)信号电缆上安装共模扼流圈。共模扼流圈实际是一种低通滤波器,根据低通滤波器对脉冲干扰的抑制作用,只有当电感量足够大时,才能有效果。但是当扼流圈的电感量较大时(往往匝数较多),分布电容也较大,扼流圈的高频抑制效果降低。而电快速脉冲波形中包含了大量的高频成分。因此,在实际使用时,需要注意调整扼流圈的匝数,必要时用两个不同匝数的扼流圈串联起来,兼顾高频和低频的要求。
(3)采用双绞线作为设备的信号电缆,并在设备信号线接口处(即靠近设备的一端)加套铁氧体磁环,并将信号线在磁环上绕2~3圈对于抗扰能力不是太弱的设备来说,这种措施的效果还是不错的。
(4)信号电缆上安装共模滤波电容。这种滤波方法比扼流圈具有更好的效果,但是需要金属机箱作为滤波电容的地。另外,这种方法会对差模信号有一定的衰减,在使用时需要注意。
(5)对敏感电路局部屏蔽。当设备的机箱为非金属机箱,或者电缆的屏蔽和滤波措施不易实施时,干扰会直接耦合进电路,这时只能对敏感电路进行局部屏蔽,屏蔽体应该是一个完整的六面体。

脉冲群EFT整改摸底测试设备--脉冲群发生器
长沙容测电子股份有限公司致力于电磁兼容测试设备的研发以及电磁兼容测试技术的推广普及,全力为客户提供专业的EMC测试产品和解决方案。
我们的产品:
民用领域:静电放电发生器、脉冲群发生器、雷击浪涌发生器、射频传导抗干扰测试系统、工频磁场发生器、脉冲磁场发生器、阻尼振荡磁场发生器、交流电压跌落发生器、振铃波发生器、共模传导抗扰度测试系统、阻尼振荡波发生器、直流电压跌落发生器等
汽车领域:静电放电发生器、7637测试系统、汽车电子可编程电源、瞬态发射开关测量、汽车线束微中断发生器、BCI大电流注入测试系统、EMI接收机、辐射抗扰度测试系统、低频磁场抗扰度测试系统、射频辐射抗扰度测试系统等
军工领域:静电放电发生器、低频传导抗扰度测试系统、尖峰脉冲发生器、电缆束注入测试系统、快速方波测试系统、高速阻尼振荡测试系统等
